تصفح الكمية:0 الكاتب:محرر الموقع نشر الوقت: 2022-05-25 المنشأ:محرر الموقع
تصميم سلسلة القص لحاجز المطاط من نوع الخلية
عندما ترسو السفينة في الرصيف ، فإن معظم السفن ستصطدم أولاً بالرصيف على بعد 1/3 و 1/4 من القوس أو المؤخرة.كمعدات مضادة للتأثير في رصيف الميناء ، يجب ألا تتحمل الحاجز المطاطي قوة التأثير العادية العمودية على جدار رصيف الرصيف فحسب ، بل يجب أن تتحمل أيضًا القوة العرضية الموازية لجدار رصيف الرصيف.في ظل ظروف التشغيل العادية ، يمكن للحاجز المطاطي من نوع الخلية أن يتحمل القوة العرضية للسفينة.ومع ذلك ، عندما يتجاوز تشوه القص لبراميل الحاجز المطاطي المتطلبات المحددة ، يجب أن تمنع سلسلة القص تشوه القص لبراميل الحاجز المطاطي.لذلك ، تلعب سلسلة القص دورًا مهمًا في ضمان التشغيل الطبيعي والأداء المعقول لمصد الأسطوانة.
يتم تقديم طريقة تصميم سلسلة قص الحاجز المطاطي الأسطواني أدناه.
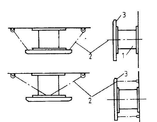
يتم ترتيب سلسلة القص بشكل عام على جانبي الحاجز المطاطي ، مع تثبيت أحد الطرفين على اللوحة المضادة للتأثير والطرف الآخر مثبت على جدار الرصيف (الشكل الأول).تتبنى سلسلة القص بشكل عام سلسلة عادية ، ويتم تحديد مواصفاتها وكميتها من خلال مواصفات الحاجز المطاطي ، وترتيب الحاجز المطاطي وحجم اللوحة المضادة للتأثير.

الشكل الأول
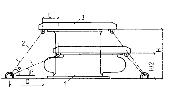
مبدأ تصميم سلسلة القص هو التأكد من أن تشوه القص لحاجز المطاط الخلوي لا يتجاوز المتطلبات المحددة في ظل ظروف الرسو الأكثر سوءًا.من المفترض أن معدل التشوه التصميمي لحاجز المطاط الأسطواني هو 50٪ وتشوه القص المسموح به هو C. كما هو موضح في الشكل 2
ج: تشوه القص المسموح به لحاجز مطاطي من نوع الأسطوانة ؛
D: الإسقاط الأفقي لسلسلة القص على جدار رصيف الميناء لحاجز المطاط تحت ظروف التفريغ ؛
H: ارتفاع الحاجز المطاطي للأسطوانة.
يجب أن يتم ترتيب سلسلة القص للحاجز المطاطي من النوع الخلوي أفقياً على جانبي الحاجز المطاطي
يتم حساب الطول l وفقًا للصيغة.يتم تثبيت أحد الطرفين على اللوحة المضادة للتأثير ، ويتم تثبيت الطرف الآخر على الحلقة المضمنة على شكل حرف U